Rack power and cooling part numbers, Models 951, 95E
This topic presents information on rack power and cooling part numbers for Models 951, 95E.
Use Table 1 as a directory for rack
power and cooling parts.
Note: The following part numbers are the most recent for this version of the
Parts Catalog. Your storage facility or serviceable event FRU list might contain an older or newer
part number. The parts-ordering system recognizes all valid part numbers and automatically
substitutes an available part number as needed.
| Part name | Figure |
|---|---|
| Battery module set (a set is three battery modules) | Figure 1 |
| Battery module enclosure | Figure 1 |
| Battery module enclosure fan | Figure 1 |
| Battery module filler | Figure 1 |
| Booster power module | Figure 2 |
| Bus bar A1, 208VDC, primary | Figure 6 |
| Bus bar B1, 208VDC, primary | Figure 6 |
| Cables, battery module set | Figure 10 |
| Cables, bus bar, A1, 208VDC, primary | Figure 9 |
| Cables, bus bar, B1, 208VDC, primary | Figure 9 |
| Cables, power distribution units (PDU) | Figure 14 |
| Cables, primary power supply (PPS) | Figure 8 |
| Cables, rack identity card | Figure 11 |
| Cables, rack operator panel UEPO switch assembly | Figure 12 |
| Cables, RPC card | Figure 13 |
| Mainline power cable | Table 9 |
| Local remote switch card | Figure 4 |
| Power distribution unit (PDU) | Figure 7 |
| PPS 208V DDM power module | Figure 2 |
| Primary power supply | Figure 2 |
| Primary power supply fan | Figure 2 |
| Primary power supply sequencer module | Figure 2 |
| Rack identity card | Figure 4 |
| Rack operator panel UEPO switch assembly | Figure 5 |
| RPC card | Figure 3 |
| zSeries local remote switch card | Figure 4 |
| All other parts | (Find the appropriate figure below) |

| Index | Part name | Part number |
|---|---|---|
| 1 | Battery module enclosure | 45W1068 |
| 2 | Screw | 54G2882 |
| 3 | Battery module filler | 23R0207 |
| 3 | Battery module set (three modules) | 45W67962 Screws |
| 3 | Battery module set FRU shipping materials (box, pads, pallet and field strapping kit). Only to be ordered if the shipping materials for the new FRU have been lost or damaged. | 45W9747 |
| 3 | Field strapping kit, see FRU shipping materials above. | 92X9720 |
| 4 | Battery module frame (not a FRU) | 1 |
| 5 | Battery module enclosure fan | 22R4419 |
| 6 | Fan guard, battery module enclosure | 93H6016 |
| 7 | Screw | 1621200 |
|
Notes:
|
||

| Index | Part name | Part number |
|---|---|---|
| 1 | Primary power supply (PPS) A base PPS contains the following parts:
|
45W8268 |
| 2 | Screw | 54G2882 |
| 3 | Fan guard | 22R5052 |
| 4 | Screw, fan guard | 22R6069 |
| 5 | PPS Fan | 22R4210 |
| 6 | Booster power module (optional) | 23R0493 |
| 7 | Screw | 54G2882 |
| 8 | PPS 208V DDM power module | 45W8270 |
| 9 | Screw | 1 |
| 10 | PPS 208V DDM power module | 45W8270 |
| 11 | Screw | 1 |
| 12 | PPS sequencer module | 23R0639 |
|
Notes:
|
||

| Index | Part name | Part number |
|---|---|---|
| 24 | RPC card | 17P9652 |

| Index | Part name | Part number |
|---|---|---|
| 28 | Rack identity card | 45W7372 |
| 29 | Screw | 54G2882 |
| 30 | Card, local remote switch | 95P1963 |
| 30 | Card, zSeries local remote switch | 95P1962 |
| 31 | Screw | 54G2882 |

| Index | Part name | Part number |
|---|---|---|
| 42 | Label, agency | 22R1790 |
| 43 | Label, country of origin, Hungary | 53P5888 |
| 43 | Label, country of origin, US | 44P3946 |
| 44 | Label, IBM logo | 97P2549 |
| 45 | Label, manufacturing site, Hungary | 22R1805 |
| 45 | Label, manufacturing site, San Jose, CA | 22R1804 |
| 46 | Label, Nordic | 97P5092 |
Parts of the rack power and cooling bus bars

| Index | Part name | Part number |
|---|---|---|
| 80 | Bus bar B1, 208VDC, primary | 22R6125 |
| 81 | Bus bar A1, 208VDC, primary | 22R6124 |
| 82 | Washer | 1622276 |
| 83 | Lock nut | 1622418 |

| Location | Part name | Part number |
|---|---|---|
| E21 - E26 | Power distribution unit (PDU) | 45W8858 |
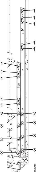
Cables for rack power and cooling parts

| Index | Part name | Part number |
|---|---|---|
| 1 | Cable, power (3-phase), short (PPS-2), 60A Chicago (7.7 feet) | 22R1188 |
| Cable, power (3-phase), long (PPS-1), 60A Chicago (9.5 feet) | 22R1189 | |
| Cable, power (1-phase), short (PPS-2), Chicago (7.7 feet) | 17P9590 | |
| Cable, power (1-phase), long (PPS-1), Chicago (9.5 feet) | 17P9591 | |
| 1 | Cable, power (3-phase), long (PPS-1), 60A Japan (17.5 feet) | 22R2224 |
| Cable, power (3-phase), short (PPS-2), 60A Japan (15.8 feet) | 22R1191 | |
| 1 | Cable, power (3-phase), long (PPS-1), EMEA (17.5 feet) | 22R3795 |
| Cable, power (3-phase), short (PPS-2), EMEA (15.8 feet) | 22R3794 | |
| Cable, power (1-phase), long (PPS-1), EMEA (17.5 feet) | 17P9596 | |
| Cable, power (1-phase), short (PPS-2), EMEA (15.8 feet) | 17P9595 | |
| 1 | Cable, power (3-phase), long (PPS-1), non-EMEA (17.5 feet) | 22R2222 |
| Cable, power (3-phase), short (PPS-2), non-EMEA (15.8 feet) | 22R1190 | |
| Cable, power (1-phase), long (PPS-1), non-EMEA (17.5 feet) | 17P9593 | |
| Cable, power (1-phase), long (PPS-1), non-EMEA (17.5 feet) | 17P9592 | |
| 1 | Cable, power (3-phase), top exit, long (PPS-2), 30A Japan (IEC 309) (3.2m / 10.5 feet) | 99Y1185 |
| Cable, power (3-phase), top exit, short (PPS-1), 30A Japan (IEC 309) (2.6m / 8.5 feet) | 99Y1186 | |
| 1 | Cable, power (3-phase), top exit, long (PPS-2), 40A EMEA (3.2m / 10.5 feet) | 99Y1173 |
| Cable, power (3-phase), top exit, short (PPS-1), 40A EMEA (2.6m / 8.5 feet) | 99Y1174 | |
| Cable, power (1-phase), top exit, long (PPS-2), 40A EMEA (3.2m / 10.5 feet) | 99Y1182 | |
| Cable, power (1-phase), top exit, short (PPS-1), 40A EMEA (2.6m / 8.5 feet) | 99Y1183 | |
| 1 | Cable, power (3-phase), top exit, long (PPS-2), 60A non-EMEA/Japan (RS) (3.2m / 10.5 feet) | 99Y1176 |
| Cable, power (3-phase), top exit, short (PPS-1), 60A non-EMEA/Japan (RS) (2.6m / 8.5 feet) | 99Y1177 | |
| Cable, power (1-phase), top exit, long (PPS-2), 60A non-EMEA/Japan (IEC 309) (3.2m / 10.5 feet) | 99Y1179 | |
| Cable, power (1-phase), top exit, short (PPS-1), 60A non-EMEA/Japan (IEC 309) (2.6m / 8.5 feet) | 99Y1180 | |
| 2 | Cable, PPS 208V DDM Power Module to PDU (see Table 15 and Table 16) | |
| 3 | Cable, PPS -to- 208V bus bar | 22R6127 |
| 4 | Cable, PPS 208V DDM Power Module to PDU (see Table 15 and Table 16) | |
| 6 | Cable, PPS -to- RPC card (except Rack-1) | 22R6139 |
| Cable, PPS -to- RPC card (Rack 1) | 22R6147 | |
| 7 | Cable, PPS -to- RPC card (except Rack-1) | 22R6140 |
| Cable, PPS -to- RPC card (Rack 1) | 22R6148 | |
| 8 | Cable, PPS-1 E1-J5 -to- rack identity card C5-J1 (expansion rack) | 45W7649 |
| Cable, PPS-2 E2-J5 -to- rack identity card C5-J2 (expansion rack) | 45W7650 | |
| 9 | Cable, PPS -to- PPS | 22R5754 |
| 12 | Cable, PPS-1 -to- battery module | 22R5752 |
| Cable, PPS-2 -to- battery module | 22R5753 | |
| 13 | Cable (multi-connector "Y" power cord), PPS to Ethernet switch SW11 | 45W5284 |
| 14 | Cable (multi-connector "X" power cord), PPS to Ethernet switch SW2 and management console1 | 45W6628 |
| 15 | Cable, PPS-1-to- battery module | 22R5749 |
| Cable, PPS-2 -to- battery module | 22R5750 | |
| 16 | Cable, PPS -to- rack operator panel UEPO switch | 21R9592 |
| 17 | Cable, PPS -to- 208V bus bar | 22R6127 |
| 18 | Cable, PPS -to- 208V bus bar2 | 22R6127 |
|
Notes:
|
||

| Index | Part name | Part number |
|---|---|---|
| 1 | Cable, 208V bus bar-to-PPS | 45W8805 |
| 2 | Cable, 208V bus bar A1-to-PDU E25 (see Table 15 and Table 16) | |
| Cable, 208V bus bar B1-to-PDU E26 (see Table 15 and Table 16) | ||
| 3 | Cable, 208V bus bar-to-battery module | 45W8806 |

| Index | Part name | Part number |
|---|---|---|
| 1-2 | Cable, battery module -to- PPS-1 | 22R5752 |
| Cable, battery module -to- PPS-2 | 22R5753 | |
| 3-4 | Cable, battery module -to- 208V bus bar | 22R6128 |
| 5 | Cable, battery module -to- PPS-1 | 22R5749 |
| 6 | Cable, battery module -to- PPS-2 | 22R5750 |

| Index | Part name | Part number |
|---|---|---|
| 3 | Cable, rack identity card C5-J1 to RPC card C1-J1 (Rack 1) | 45W7647 |
| 4 | Cable, rack identity card C5-J2 to RPC card C2-J1 (Rack 1) | 45W7648 |
| 3 | Cable, rack identity card C5-J1 to PPS E1-J5 (expansion rack) | 45W7649 |
| 4 | Cable, rack identity card C5-J2 to PPS E2-J5 (expansion rack) | 45W7650 |
| 5 | Cable, rack identity card C5-J3 to rack front door LED assembly | 45W6123 |
| 1 | Cable, local remote switch card C6-J5 to-RPC card C1-P204 | 22R6141 |
| 2 | Cable, local remote switch card C6-J6 to-RPC card C2-P204 | 22R6142 |

| Index | Part name | Part number |
|---|---|---|
| 1 | Screw, UEPO switch housing to rack | N/A |
| 2 | UEPO switch housing | |
| 3 | UEPO switch label | |
| 4 | Screw, UEPO switch to housing | |
| 5 | UEPO switch and cable assembly | 45W8101 |

| Index | Part name | Part number |
|---|---|---|
| 1 | Cable, RPC card -to- RPC card | 22R6138 |
| 2 | Cable, RPC card C1-J1 -to- rack identity card C5-J1 | 45W7647 |
| 3 | Cable, RPC card C2-J1 -to- rack identity card C5-J2 | 45W7648 |
| 4 | Cable, RPC card C1-P204 -to- local remote switch card C6-J5 | 22R6141 |
| 5 | Cable, RPC card C2-P204 -to- local remote switch card C6-J6 | 22R6142 |
| 6 | Cable, RPC card -to- PPS (rack 1) | 22R6147 |
| 7 | Cable, RPC card -to- PPS (rack 1) | 22R6148 |
| 8-9 | Cable, RPC card -to- CEC enclosure 1 | 22R6143 |
| 10-11 | Cable, RPC card -to- CEC enclosure 2 | 22R6144 |
| 12 | Cable, RPC card -to- PPS (expansion rack) | 22R6139 |
| 13 | Cable, RPC card -to- PPS (expansion rack) | 22R6140 |


Table 15 and Table 16 show power cables between the power distribution
units (PDUs), primary power supply (PPS) modules, and bus bars.
Table 17, Table 18, and Table 19 show power cables between the PDUs and the
CEC enclosure, I/O enclosure, and storage enclosure power supplies.
| PDU port | connects to | connection description | P/N | FRU/PN | PDU group |
|---|---|---|---|---|---|
|
Note: For further guidance on the
connects tolocations in this table, refer to Rack power and cooling location codes (Models 951, 95E). |
|||||
| E21-J9 | E1-E3-J1 | PPS E1 (upper), right 208V module | 45W5369 | 45W8802 | yellow |
| E21-J10 | E23-J10 | PDU E23 | 45W8173 | 45W8804 | yellow |
| E22-J9 | E2-E1-J1 | PPS E2 (lower), left 208V module | 45W5370 | 45W8801 | green |
| E22-J10 | E24-J10 | PDU E24 | 45W8174 | 45W8803 | green |
| E23-J9 | E2-E3-J1 | PPS E2 (lower), right 208V module | 45W5368 | 45W8802 | yellow |
| E23-J10 | E21-J10 | PDU E21 | 45W8173 | 45W8804 | yellow |
| E24-J9 | E1-E1-J1 | PPS E1 (upper), left 208V module | 45W5371 | 45W8801 | green |
| E24-J10 | E22-J10 | PDU E22 | 45W8174 | 45W8803 | green |
| E25-J9 | bus bar A1 | primary bus bar A (longer) | 45W5367 | 45W8804 | yellow |
| E25-J10 | not used | ||||
| E26-J9 | bus bar B1 | primary bus bar B (shorter) | 45W5366 | 45W8803 | green |
| E26-J10 | not used | ||||
| PDU port | connects to | connection description | P/N | FRU/PN | PDU group |
|---|---|---|---|---|---|
|
Note: For further guidance on the
connects tolocations in this table, refer to Rack power and cooling location codes (Models 951, 95E). |
|||||
| E21-J9 | E2-E3-J1 | PPS E2 (lower), right 208V module | 45W8176 | 45W8802 | yellow |
| E21-J10 | E23-J10, E25-J10 | PDU E23, PDU E25 | 45W8450 | 45W8450 | yellow |
| E22-J9 | E1-E3-J1 | PPS E1 (upper), right 208V module | 45W8175 | 45W8801 | green |
| E22-J10 | E24-J10, E26-J10 | PDU E24, PDU E26 | 45W8447 | 45W8447 | green |
| E23-J9 | E2-E1-J1 | PPS E2 (lower), left 208V module | 45W9653 | 45W8802 | yellow |
| E23-J10 | E21-J10, E25-J10 | PDU E21, PDU E25 | 45W8450 | 45W8450 | yellow |
| E24-J9 | E1-E1-J1 | PPS E1 (upper), left 208V module | 45W5371 | 45W8801 | green |
| E24-J10 | E22-J10, E26-J10 | PDU E22, PDU E26 | 45W8447 | 45W8447 | green |
| E25-J9 | bus bar A1 | primary bus bar A (longer) | 45W5367 | 45W8804 | yellow |
| E25-J10 | E21-J10, E23-J10 | PDU E21, PDU E23 | 45W8450 | 45W8450 | yellow |
| E26-J9 | bus bar B1 | primary bus bar B (shorter) | 45W5366 | 45W8803 | green |
| E26-J10 | E22-J10, E24-J10 | PDU E22, PDU E24 | 45W8447 | 45W8447 | green |
| PDU port | connects to | connection description | P/N | FRU/PN | PDU group |
|---|---|---|---|---|---|
|
Note: For further guidance on the
connects tolocations in this table, refer to: |
|||||
| PDU E21 | |||||
| E21-J1 | G01-E2 | storage enclosure G01 PSU E2 (right) | 45W9127 | 45W8809 | yellow |
| E21-J2 | G02-E2 | storage enclosure G02 PSU E2 (right) | 45W9127 | 45W8809 | yellow |
| E21-J3 | G03-E2 | storage enclosure G03 PSU E2 (right) | 45W9127 | 45W8809 | yellow |
| E21-J4 | G04-E2 | storage enclosure G04 PSU E2 (right) | 45W9127 | 45W8809 | yellow |
| E21-J5 | G05-E2 | storage enclosure G05 PSU E2 (right) | 45W9127 | 45W8809 | yellow |
| E21-J6 | not used | ||||
| E21-J7 | not used | ||||
| E21-J8 | not used | ||||
| PDU E22 | |||||
| E22-J1 | G01-E1 | storage enclosure G01 PSU E1 (left) | 45W9128 | 45W8810 | green |
| E22-J2 | G02-E1 | storage enclosure G02 PSU E1 (left) | 45W9128 | 45W8810 | green |
| E22-J3 | G03-E1 | storage enclosure G03 PSU E1 (left) | 45W9128 | 45W8810 | green |
| E22-J4 | G04-E1 | storage enclosure G04 PSU E1 (left) | 45W9128 | 45W8810 | green |
| E22-J5 | G05-E1 | storage enclosure G05 PSU E1 (left) | 45W9128 | 45W8810 | green |
| E22-J6 | not used | ||||
| E22-J7 | not used | ||||
| E22-J8 | not used | ||||
| PDU E23 | |||||
| E23-J1 | G06-E2 | storage enclosure G06 PSU E2 (right) | 45W9127 | 45W8809 | yellow |
| E23-J2 | G07-E2 | storage enclosure G07 PSU E2 (right) | 45W9127 | 45W8809 | yellow |
| E23-J3 | G08-E2 | storage enclosure G08 PSU E2 (right) | 45W9127 | 45W8809 | yellow |
| E23-J4 | G09-E2 | storage enclosure G09 PSU E2 (right) | 45W9127 | 45W8809 | yellow |
| E23-J5 | G10-E2 | storage enclosure G10 PSU E2 (right) | 45W9127 | 45W8809 | yellow |
| E23-J6 | not used | ||||
| E23-J7 | not used | ||||
| E23-J8 | not used | ||||
| PDU E24 | |||||
| E24-J1 | G06-E1 | storage enclosure G06 PSU E1 (left) | 45W9128 | 45W8810 | green |
| E24-J2 | G07-E1 | storage enclosure G07 PSU E1 (left) | 45W9128 | 45W8810 | green |
| E24-J3 | G08-E1 | storage enclosure G08 PSU E1 (left) | 45W9128 | 45W8810 | green |
| E24-J4 | G09-E1 | storage enclosure G09 PSU E1 (left) | 45W9128 | 45W8810 | green |
| E24-J5 | G10-E1 | storage enclosure G10 PSU E1 (left) | 45W9128 | 45W8810 | green |
| E24-J6 | not used | ||||
| E24-J7 | not used | ||||
| E24-J8 | not used | ||||
| PDU E25 | |||||
| E25-J1 | XC1-E2 | upper CEC, power supply E2 (right) | 45W5216 | 45W8807 | yellow |
| E25-J2 | XC2-E2 | lower CEC, power supply E2 (right) | 45W5216 | 45W8807 | yellow |
| E25-J3 | not used | ||||
| E25-J4 | not used | ||||
| E25-J5 | XI2-E1 | front upper left I/O, power supply E1 (left) | 45W7925 | 45W8807 | yellow |
| E25-J6 | XI1-E1 | front upper right I/O, power supply E1 (left) | 45W7926 | 45W8807 | yellow |
| E25-J7 | XI4-E1 | front lower left I/O, power supply E1 (left) | 45W7925 | 45W8807 | yellow |
| E25-J8 | XI3-E1 | front lower right I/O, power supply E1 (left) | 45W7926 | 45W8807 | yellow |
| PDU E26 | |||||
| E26-J1 | XC1-E1 | upper CEC, power supply E1 (left) | 45W5217 | 45W8808 | green |
| E26-J2 | XC2-E1 | lower CEC, power supply E1 (left) | 45W5217 | 45W8808 | green |
| E26-J3 | not used | ||||
| E26-J4 | not used | ||||
| E26-J5 | XI2-E2 | front upper left I/O, power supply E2 (right) | 45W7924 | 45W8808 | green |
| E26-J6 | XI1-E2 | front upper right I/O, power supply E2 (right) | 45W7927 | 45W8808 | green |
| E26-J7 | XI4-E2 | front lower left I/O, power supply E2 (right) | 45W7924 | 45W8808 | green |
| E26-J8 | XI3-E2 | front lower right I/O, power supply E2 (right) | 45W7927 | 45W8808 | green |
| PDU port | connects to | connection description | P/N | FRU/PN | PDU group |
|---|---|---|---|---|---|
|
Note: For further guidance on the
connects tolocations in this table, refer to: |
|||||
| PDU E21 | |||||
| E21-J1 | G01-E2 | storage enclosure G01 PSU E2 (right) | 45W9127 | 45W8809 | yellow |
| E21-J2 | G02-E2 | storage enclosure G02 PSU E2 (right) | 45W9127 | 45W8809 | yellow |
| E21-J3 | G03-E2 | storage enclosure G03 PSU E2 (right) | 45W9127 | 45W8809 | yellow |
| E21-J4 | G04-E2 | storage enclosure G04 PSU E2 (right) | 45W9127 | 45W8809 | yellow |
| E21-J5 | G05-E2 | storage enclosure G05 PSU E2 (right) | 45W9127 | 45W8809 | yellow |
| E21-J6 | G06-E2 | storage enclosure G06 PSU E2 (right) | 45W9127 | 45W8809 | yellow |
| E21-J7 | G07-E2 | storage enclosure G07 PSU E2 (right) | 45W9127 | 45W8809 | yellow |
| E21-J8 | not used | ||||
| PDU E22 | |||||
| E22-J1 | G01-E1 | storage enclosure G01 PSU E1 (left) | 45W9128 | 45W8810 | green |
| E22-J2 | G02-E1 | storage enclosure G02 PSU E1 (left) | 45W9128 | 45W8810 | green |
| E22-J3 | G03-E1 | storage enclosure G03 PSU E1 (left) | 45W9128 | 45W8810 | green |
| E22-J4 | G04-E1 | storage enclosure G04 PSU E1 (left) | 45W9128 | 45W8810 | green |
| E22-J5 | G05-E1 | storage enclosure G05 PSU E1 (left) | 45W9128 | 45W8810 | green |
| E22-J6 | G06-E1 | storage enclosure G06 PSU E1 (left) | 45W9128 | 45W8810 | green |
| E22-J7 | G07-E1 | storage enclosure G07 PSU E1 (left) | 45W9128 | 45W8810 | green |
| E22-J8 | not used | ||||
| PDU E23 | |||||
| E23-J1 | G08-E2 | storage enclosure G08 PSU E2 (right) | 45W9127 | 45W8809 | yellow |
| E23-J2 | G09-E2 | storage enclosure G09 PSU E2 (right) | 45W9127 | 45W8809 | yellow |
| E23-J3 | G10-E2 | storage enclosure G10 PSU E2 (right) | 45W9127 | 45W8809 | yellow |
| E23-J4 | G11-E2 | storage enclosure G11 PSU E2 (right) | 45W9127 | 45W8809 | yellow |
| E23-J5 | G12-E2 | storage enclosure G12 PSU E2 (right) | 45W9127 | 45W8809 | yellow |
| E23-J6 | G13-E2 | storage enclosure G13 PSU E2 (right) | 45W9127 | 45W8809 | yellow |
| E23-J7 | G14-E2 | storage enclosure G14 PSU E2 (right) | 45W9127 | 45W8809 | yellow |
| E23-J8 | not used | ||||
| PDU E24 | |||||
| E24-J1 | G08-E1 | storage enclosure G08 PSU E1 (left) | 45W9128 | 45W8810 | green |
| E24-J2 | G09-E1 | storage enclosure G09 PSU E1 (left) | 45W9128 | 45W8810 | green |
| E24-J3 | G10-E1 | storage enclosure G10 PSU E1 (left) | 45W9128 | 45W8810 | green |
| E24-J4 | G11-E1 | storage enclosure G11 PSU E1 (left) | 45W9128 | 45W8810 | green |
| E24-J5 | G12-E1 | storage enclosure G12 PSU E1 (left) | 45W9128 | 45W8810 | green |
| E24-J6 | G13-E1 | storage enclosure G13 PSU E1 (left) | 45W9128 | 45W8810 | green |
| E24-J7 | G14-E1 | storage enclosure G14 PSU E1 (left) | 45W9128 | 45W8810 | green |
| E24-J8 | not used | ||||
| PDU E25 | |||||
| E25-J1 | not used | ||||
| E25-J2 | not used | ||||
| E25-J3 | not used | ||||
| E25-J4 | not used | ||||
| E25-J5 | XI2-E1 | front upper left I/O, power supply E1 (left) | 45W7925 | 45W8807 | yellow |
| E25-J6 | XI1-E1 | front upper right I/O, power supply E1 (left) | 45W7926 | 45W8807 | yellow |
| E25-J7 | XI4-E1 | front lower left I/O, power supply E1 (left) | 45W7925 | 45W8807 | yellow |
| E25-J8 | XI3-E1 | front lower right I/O, power supply E1 (left) | 45W7926 | 45W8807 | yellow |
| PDU E26 | |||||
| E26-J1 | not used | ||||
| E26-J2 | not used | ||||
| E26-J3 | not used | ||||
| E26-J4 | not used | ||||
| E26-J5 | XI2-E2 | front upper left I/O, power supply E2 (right) | 45W7924 | 45W8808 | green |
| E26-J6 | XI1-E2 | front upper right I/O, power supply E2 (right) | 45W7927 | 45W8808 | green |
| E26-J7 | XI4-E2 | front lower left I/O, power supply E2 (right) | 45W7924 | 45W8808 | green |
| E26-J8 | XI3-E2 | front lower right I/O, power supply E2 (right) | 45W7927 | 45W8808 | green |
| PDU port | connects to | connection description | P/N | FRU P/N | PDU group |
|---|---|---|---|---|---|
|
Note: For further guidance on the
connects tolocations in this table, refer to Storage enclosure location codes (Models 951, 95E). |
|||||
| PDU E21 | |||||
| E21-J1 | G01-E2 | storage enclosure G01 PSU E2 (right) | 45W9127 | 45W8809 | yellow |
| E21-J2 | G02-E2 | storage enclosure G02 PSU E2 (right) | 45W9127 | 45W8809 | yellow |
| E21-J3 | G03-E2 | storage enclosure G03 PSU E2 (right) | 45W9127 | 45W8809 | yellow |
| E21-J4 | G04-E2 | storage enclosure G04 PSU E2 (right) | 45W9127 | 45W8809 | yellow |
| E21-J5 | G05-E2 | storage enclosure G05 PSU E2 (right) | 45W9127 | 45W8809 | yellow |
| E21-J6 | G06-E2 | storage enclosure G06 PSU E2 (right) | 45W9127 | 45W8809 | yellow |
| E21-J7 | G07-E2 | storage enclosure G07 PSU E2 (right) | 45W9127 | 45W8809 | yellow |
| E21-J8 | not used | ||||
| PDU E22 | |||||
| E22-J1 | G01-E1 | storage enclosure G01 PSU E1 (left) | 45W9128 | 45W8810 | green |
| E22-J2 | G02-E1 | storage enclosure G02 PSU E1 (left) | 45W9128 | 45W8810 | green |
| E22-J3 | G03-E1 | storage enclosure G03 PSU E1 (left) | 45W9128 | 45W8810 | green |
| E22-J4 | G04-E1 | storage enclosure G04 PSU E1 (left) | 45W9128 | 45W8810 | green |
| E22-J5 | G05-E1 | storage enclosure G05 PSU E1 (left) | 45W9128 | 45W8810 | green |
| E22-J6 | G06-E1 | storage enclosure G06 PSU E1 (left) | 45W9128 | 45W8810 | green |
| E22-J7 | G07-E1 | storage enclosure G07 PSU E1 (left) | 45W9128 | 45W8810 | green |
| E22-J8 | not used | ||||
| PDU E23 | |||||
| E23-J1 | G08-E2 | storage enclosure G08 PSU E2 (right) | 45W9127 | 45W8809 | yellow |
| E23-J2 | G09-E2 | storage enclosure G09 PSU E2 (right) | 45W9127 | 45W8809 | yellow |
| E23-J3 | G10-E2 | storage enclosure G10 PSU E2 (right) | 45W9127 | 45W8809 | yellow |
| E23-J4 | G11-E2 | storage enclosure G11 PSU E2 (right) | 45W9127 | 45W8809 | yellow |
| E23-J5 | G12-E2 | storage enclosure G12 PSU E2 (right) | 45W9127 | 45W8809 | yellow |
| E23-J6 | G13-E2 | storage enclosure G13 PSU E2 (right) | 45W9127 | 45W8809 | yellow |
| E23-J7 | G14-E2 | storage enclosure G14 PSU E2 (right) | 45W9127 | 45W8809 | yellow |
| E23-J8 | not used | ||||
| PDU E24 | |||||
| E24-J1 | G08-E1 | storage enclosure G08 PSU E1 (left) | 45W9128 | 45W8810 | green |
| E24-J2 | G09-E1 | storage enclosure G09 PSU E1 (left) | 45W9128 | 45W8810 | green |
| E24-J3 | G10-E1 | storage enclosure G10 PSU E1 (left) | 45W9128 | 45W8810 | green |
| E24-J4 | G11-E1 | storage enclosure G11 PSU E1 (left) | 45W9128 | 45W8810 | green |
| E24-J5 | G12-E1 | storage enclosure G12 PSU E1 (left) | 45W9128 | 45W8810 | green |
| E24-J6 | G13-E1 | storage enclosure G13 PSU E1 (left) | 45W9128 | 45W8810 | green |
| E24-J7 | G14-E1 | storage enclosure G14 PSU E1 (left) | 45W9128 | 45W8810 | green |
| E24-J8 | not used | ||||
| PDU E25 | |||||
| E25-J1 | G15-E2 | storage enclosure G15 PSU E2 (right) | 45W9127 | 45W8809 | yellow |
| E25-J2 | G16-E2 | storage enclosure G16 PSU E2 (right) | 45W9127 | 45W8809 | yellow |
| E25-J3 | G17-E2 | storage enclosure G17 PSU E2 (right) | 45W9127 | 45W8809 | yellow |
| E25-J4 | G18-E2 | storage enclosure G18 PSU E2 (right) | 45W9127 | 45W8809 | yellow |
| E25-J5 | G19-E2 | storage enclosure G19 PSU E2 (right) | 45W9127 | 45W8809 | yellow |
| E25-J6 | G20-E2 | storage enclosure G20 PSU E2 (right) | 45W9127 | 45W8809 | yellow |
| E25-J7 | not used | ||||
| E25-J8 | not used | ||||
| PDU E26 | |||||
| E26-J1 | G15-E1 | storage enclosure G15 PSU E1 (left) | 45W9128 | 45W8810 | green |
| E26-J2 | G16-E1 | storage enclosure G16 PSU E1 (left) | 45W9128 | 45W8810 | green |
| E26-J3 | G17-E1 | storage enclosure G17 PSU E1 (left) | 45W9128 | 45W8810 | green |
| E26-J4 | G18-E1 | storage enclosure G18 PSU E1 (left) | 45W9128 | 45W8810 | green |
| E26-J5 | G19-E1 | storage enclosure G19 PSU E1 (left) | 45W9128 | 45W8810 | green |
| E26-J6 | G20-E1 | storage enclosure G20 PSU E1 (left) |
45W9128 | 45W8810 | green |
| E26-J7 | not used | ||||
| E26-J8 | not used | ||||